Реклама

Реклама
  1. Главная
  2. Авто
  3. Помаши рукой!

Помаши рукой!

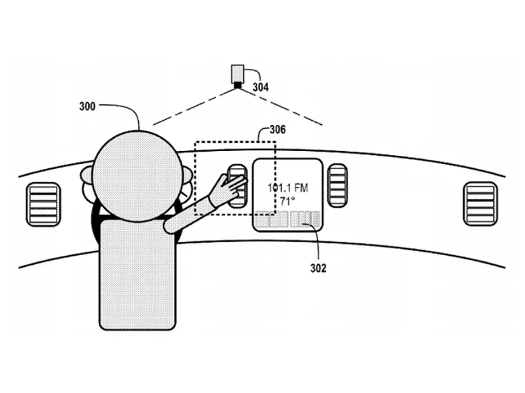
Компания Google подала в Бюро патентов и торговых марок США заявку на регистрацию разработки, позволяющей управлять автомобилем с помощью жестов

Капитал - Помаши рукой!

Партнерами Google во внедрении разработки выступят известные производители автокомпонентов Continental AG и Magna International, сообщает сетевое издание Engadget.

Отслеживание движения рук водителя будет осуществляться с помощью специальной потолочной камеры и лазерных сканеров. Взмахом ладони вдоль бокового стекла можно будет опустить или поднять стекло, а вблизи с мультимедийной системой - отрегулировать громкость звука, пишет Аuto.lafa.kz.

Сроки появления новшества на серийных автомобилях не указываются даже предположительно.

При работе с материалами Центра деловой информации Kapital.kz разрешено использование лишь 30% текста с обязательной гиперссылкой на источник. При использовании полного материала необходимо разрешение редакции.

Вам может быть интересно

    Читайте Kapital.kz в